1.引言
近年来,以人体为中心的无线通信有很多潜在的应用,如医疗传感器系统、可穿戴电子设备、军事通信等。以人体为中心的无线通信指的是人体自身和人与人之间的网络通信,是无线体域网(wban)、无线传感器网络(wsn)和无线个人局域网(wpan)合并的一个主体领域。在这种通信系统中,位于主体上或主体中的所有终端将共享体上链路,体外链路和体内链路。体上链路是指沿着人体表面信号的发射与接收;体外链路是指人体上的节点与远离人体外部节点之间信号的发射与接收,如图 1;体内链路则是植入式设备在人体内部信号的发射与接收。
图 1 人体通信系统
这三种不同形式的通信链路要求不同的辐射方向图。例如,位于人体表面的可穿戴设备和系统之间的链路要求一个沿着人体表面方向的全向辐射方向图。在体外链路中,则需要一个定向的辐射方向图。可重构天线是一种可以根据需要,在操作期间改变其天线结构或参数的设备。它可以通过改变自身的配置,来适应不同的无线通信需求,例如不同的信号频率、不同的信号辐射方向等。相比于传统的固定结构天线,可重构天线具有更高的灵活性和适应性。
可重构天线作为一种新型的天线, 之所以可以重构天线的参数、具有可切换的不同的工作模式, 其本质是通过改变天线的结构进而改变天线的电流分布实现的,也可以通过调节所设计天线的位置、尺寸大小等来实现。在天线结构中可添加开关或者电抗元件来改变主辐射单元表面的电流分布或电抗特性,从而得到不同的辐射方向图。或者,通过改变馈点,激励天线产生不同辐射模式来实现天线辐射方向的改变。
本文利用三维电磁仿真工具 cst 仿真了一款方向图可重构天线。模型建立后,添加场监视器,利用时域有限积分法 fdtd 对天线进行计算,得到天线的 s 参数、增益、方向图等。人体中心通信链路中,人体也是一个强大的磁场,对天线的性能会产生一定的影响。在 cst 中添加人体结构,通过 sar 值结果分析人体对天线磁场的影响。将仿真结果与实测结果进行比较,确保仿真的合理性。
2.天线设计与建模
2.1 天线结构
本设计使用的是三层 0.6mm 的 rogers ro4350 介质基板,第一层板上是一个圆形天线,用来产生定向辐射方向图,使天线能够与外部设备经行信号传输;第二层板上是一个环形天线,能产生全向辐射方向图,使天线能与身体其他设备信号传输;第三层的底面是一个零阶共振缝隙天线,用来实现天线与人体内部设备的信号传输。天线基本结构如图 2 所示,(a)中f1为圆形贴片的馈点至圆心的距离,��1为整个天线的半径,��2为圆形贴片的半径;(b)中��2为环形贴片的馈点至圆心的距离,��3为圆环外半径,��4为圆环内半径。
图 2 天线基本结构 (a)第一层俯视图 (b)第二层俯视图 (c)底层仰视图 (d)为天线整体侧视图
2.2 模型建立
2.2.1 建模基础
在天线建模前,需要对天线的方向图、输入阻抗、工作中心频率、尺寸大小等进行预估。该天线由三层不同的贴片天线组成。第一层和第二层均是圆形微带天线,一个最基本的圆形天线是在介质基片上贴一薄导电圆形贴片,介质的背面是地板,如图 3。
图 3 圆形微带天线
第二层环形贴片半径也是采用公式(1)计算,在圆环一周均匀的添加短路柱,改变天线的辐射,使电流沿着圆环向各个方向分布,以实现全向辐射,如图 4。
图 4 环贴片电流分布
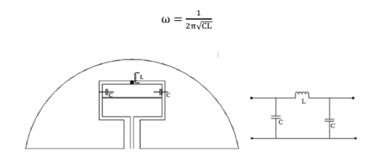
第三层缝隙贴片天线利用了 lc 振荡电路的工作原理,通过改变电感值可以改变天线的谐振频率,使天线在 403mhz 频率下工作。天线左右两边缝隙建模时,等效为并联的电容 c,在天线上端缝隙处添加合适的电感 l,使天线达到谐振,如图 5,频率计算见公式(4):
图 5 天线振荡等效电路
为实现天线可重构,利用馈电网络将上述三种贴片建立联系,适当的添加匹配使天线工作在所需频段,在微带线1/4阻抗匹配处添加可控开关,根据开关的打开闭合控制所需辐射链路工作。
本天线利用二极管模拟可控开关,在二极管位置加载阻值,从而控制二极管的工作状态。当二极管加载较大的负载如 10000ω 时二极管处于断开状态,当给二极管一个较小的阻值如 0.5ω时,二极管处于连接状态。天线馈电网络如图 6,当 s1 断开,s2 和 s3 导通时,电流会流入体表通信链路产生全向辐射;当 s2 断开,s1 和 s3 导通时,电流会流入体外通信链路产生定向辐射;当 s3 断开,s1 和 s2 导通时,电流会流入体内通信链路,使其工作于 403mhz。
图 6 可重构馈电网络原理图
2.2.2 电磁仿真工具 cst 建模
cst 工作室套装是以有限积分技术为基础的通用电磁场仿真软件。其在有限积分法中使用了理想边界拟合技术(pba),将介质边界共形地映照到六面体网格上,大大提高了网格的精度,可以对曲线结构进行精确建模。其微波工作室能够快速精确设置天线,仿真得到各类天线的 s参数、方向图、增益、驻波比以及空间任意一点的电磁场等,还可以分析人体组织的 sar。
在 cst 微波工作室下的天线模块中,对本设计建模仿真,如图 7。在建模前需要设置合适的模型单位及模型材料,如图 8,cst 材料库中包含 440 多种材料,并支持用户新研发的材料增加到库。可重构天线是一种具有动态调整特性的天线,可以在不同情况下优化其性能,为了方便优化分析,天线建模需要参数化。cst 中拥有先进的 acis 内核(r23)的参量化实体建模前端,使模型结构参数均可参数化。一个天线的仿真需要有激励源,cst 支持波导端口、离散端口、集总元件的单选、复选和变换,该天线用的是一个离散端口,如图 9 所示。
图 7 天线建模
图 8 单位及材料设置
图 9 离散端口激励
cst 微波工作室包含了多个求解器:时域、频域、本征模求解器等。其中时域求解器只需
运行一次即可得到结构的带宽等特性,对大多数带有激励源的问题非常有效,因此,本设计选择时域求解器进行求解,即时域有限积分法(fdtd)。该方法通过傅里叶变换将积分形式的麦克斯韦方程离散化,生成一套网格,将需要计算的区域分割为许多小的网格单元,从而计算模型的电磁场问题。图 10 展示了天线利用时域求解法在 z 方向的网格划分。
图 10 天线 z 方向网格剖分
3.实测与仿真结果及详细说明
天线实物见图 11,实测如图 12 所示。将直流源和信号源连接到天线上,利用喇叭天线与本设计进行信号传输。顺时针转动天线,每个方向上的增益值会在矢量网络分析仪上显示,另外网络分析仪也可以测量天线的 s 参数。
图 11 天线实物图 (a)俯视图 (b)仰视图
图 12 天线实测图
在没有添加人体组织时的天线仿真与实测的 s 参数结果如图 13 所示,其中(a)为 2.45ghz 体外通信状态的 s11,(b)为 2.45ghz 体表通信状态的 s11,(c)为 403mhz 体内通信状态的 s11。从图13 中可以看出,天线各通信模式下的实测与仿真结果都能较好的吻合。
图 14 给出了可重构天线在 2.45ghz 和 403mhz 频率下的三维方向图的仿真结果。其中(a)为天线在体外通信模式下的三维方向图,(b)为天线在体表通信模式下的三维方向图,(c)为天线在体内通信模式下的三维方向图。由图可得:在 2.45ghz 频率下,天线在体外辐射模式下的最大增益约为 2.4dbi,对于小尺寸天线来说,增益较高。天线在体表工作模式下的最大增益约为2.02dbi。天线在体内通信模式下的的最大增益约为 4.49dbi,增益相对比较低。
天线在体外通信模式下归一化方向图的仿真与实测结果如图 15,图 16 给出了天线在体表通信模式下的归一化方向图的仿真与实测结果,图 17 展示了天线在体内通信模式下的仿真结果。
图 13 天线 s 参数 (a) 2.45ghz 体外通信模式 (b) 2.45ghz 体表通信模式(c) 403mhz 体内通信模式
图 17 天线在体内通信模式下方向图的仿真结果(a) e 面(xoy 面) (b) h 面(yoz 面)
以上所示的仿真与实测对比表示,cst 仿真可以很好的得到天线的谐振及辐射方向图,谐
振点处的回波损耗均在-10db 以下,表明该天线的辐射损耗较小。
4.sar 值分析
由于天线可以穿戴在人体的不同部位,人体是一个复杂的组织,天线辐射的能量被人体吸收会对人体健康造成伤害。在外电磁场的作用下,人体将产生感应电磁场,而人体各种器官均为有耗介质,因此体内电磁场将会产生感应电流,导致吸收和耗散电磁能量,sar 即用来表征这一物理过程,其被定义为单位质量的人体组织吸收或消耗的电磁波功率,单位为 w/kg。
4.1 sar 值分析建模
cst 对人体 sar 仿真有着非常完备的凯发网站的解决方案,其独特的生物模型库中的人体模型可以满足不同的应用场景,通过在微波工作室中导入可视化人体模型数据集,对 sar 值进行分析。仿真时将天线放置在身体胸腔附近或体内,其中人体组织利用皮肤,脂肪,肌肉来模拟,如图 18。
图 18 天线在人体胸腔附近及体内模拟
4.2 sar 仿真结果
与其他仿真不同,sar 值仿真需要先加一个 power loss density/sar 的场监视器,如图 19,这里的 power loss density 被用来计算 sar 值,同时,cst 后处理中的 sar 选项可以快速、精确的计算 sar,如图 20 所示。
图 19 power loss density/sar 场监视器
图 20 sar 后处理
由于人体组织很大,为提高后处理速度,限制计算区域在人体胸腔附近。图 21 为 sar 仿真结果,可以看出,天线在人体附近的 sar 为 8.74e-8w/kg,在人体内部的 sar 为 1.23e-7w/kg,两者均比较低。不同领域的 sar 标准不同,该值越低,则人体组织吸收或消耗的电磁波功率越少。
图 21 sar 值分布(a)胸腔附近(b)胸腔内部
5.总结
本文利用达索三维电磁仿真工具 cst 对天线建模分析,并计算天线位于人体不同位置的sar 值。通过添加三个开关二极管来控制工作模式,实现人体体外、体表以及体内三种通信模式的切换,即单天线实现多功能。
目前在可重构天线设计的电磁分析中广泛使用的方法有: 时域有限积分法(fdtd) 、有限元法(fem) 、矩量法(mom)等。达索三维电磁仿真工具 cst 中的 fdtd,具有建模容易、计算时间短、对电磁特性模拟精确等优点, 因此在可重构天线的设计中有很大的应用价值。并且,cst中的人体模型库,拥有多种不同类型的人体模型,可以满足不同场景的人体 sar 值分析。仿真结果与实测结果表明,该天线可以实现可重构,当工作于 2.45ghz 频段时,天线能够得到很好的定向和全向方向图。由于条件有限,对于 sar 值的分析暂时只有仿真结果。
资料来源:达索官方
2025-12-05
[行业资讯] simulia简介-abaqus代理经销商思茂信息
2025-12-05
[行业资讯] 如何合理选购abaqus软件并获取报价?达索代理商思茂信息
2025-12-05
[行业资讯] 思茂信息亮相2025省博士创新站活动 共探产学研新路径
2025-12-02
[cst] cst软件探索eft虚拟测试:从iec标准到3d仿真实战
2025-12-01
[abaqus] abaqus中理想弹塑性模型和弹塑性硬化模型区别
2025-11-28
2025-11-28
2025-11-28
[abaqus] 上课啦!达索系统 simulia abaqus pcb仿真
2025-11-26
[cst] 无参优化器:利用cst和tosca进行拓扑优化之单极天线(
2025-11-26
2023-08-29
2023-08-24
[abaqus] abaqus如何建模?abaqus有限元分析教程
2023-07-07
[abaqus] 有限元分析软件abaqus单位在哪设置?【操作教程】
2023-09-05
[abaqus] abaqus软件中interaction功能模块中的绑定接
2023-07-19
[abaqus] abaqus怎么撤回上一步操作?abauqs教程
2024-05-01
[abaqus] abaqus里面s11、s12和u1、u2是什么意思?s和
2023-08-30
[abaqus] abaqus单位对应关系及参数介绍-abaqus软件
2023-11-20
[abaqus] abaqus软件教程|场变量输出历史变量输出
2023-07-18
[abaqus] abaqus中的s、u、v、e、cf分别是什么意思?
2024-05-11
[行业资讯] simulia简介-abaqus代理经销商思茂信息
2025-12-05
2025-12-05
[行业资讯] 如何合理选购abaqus软件并获取报价?达索代理商思茂信息
2025-12-05
[行业资讯] 思茂信息亮相2025省博士创新站活动 共探产学研新路径
2025-12-02
[行业资讯] 正版abaqus全国代理商:思茂信息——达索授权认证
2025-11-25
[行业资讯] 怎么联系cst studio suite代理商?达索sim
2025-11-25
2025-11-24
[行业资讯] 广东有限元分析软件abaqus采购指南-认准达索授权思茂信
2025-11-21
[行业资讯] 达索abaqus、cst代理商采购流程-指定授权代理商思茂
2025-11-21
[行业资讯] 广东2025半导体及零部件学会发展论坛落幕,广州思茂信息获
2025-11-20
地址: 广州市天河区天河北路663号广东省机械研究所8栋9层 电话:020-38921052 传真:020-38921345 邮箱:thinks@think-s.com
凯发k8官方网娱乐官方 copyright © 2010-2023 广州思茂信息科技有限公司 all rights reserved. 粤icp备11003060号-2