引言
方向盘是轿车的关重零部件,是主动安全研究的内容之一。在设计和制造的过程中要保证方向盘的刚度和强度,而且更要保证在使用的过程中,当汽车发生碰撞时,驾驶人员的胸膛冲击方向盘,方向盘给人的反力不能超出规定的数值。如果冲击的反力大于了规定的数值,将给驾驶者留下安全隐患,因此在汽车开发的过程中必须对方向盘的刚度、强度及轮辐静载荷反力进行分析。
在本文中,将结合实际的轿车方向盘开发,根据几何模型建立有限元模型,根据轮辐静载荷反力试验情况进行约束和加载。在分析中将考虑材料非线性和几何非线性。最后根据分析和试验的情况进行对标。
轮辐静载荷试验简介
如图 1 所示为轮辐静载荷试验的台架安装。用刚性夹具将方向盘固定在装车状态,用刚性夹具固定 12 点处载荷方向上的位移,用压力机在 6 点辐条处施加规定强制位移,在加载的时候沿载荷方向慢慢加载,保证准静态的效果。用仪器记录位移与压力的关系曲线。
图 1 轮辐静载荷试验装置
分析模型
有限元模型
为了和轮辐静态载荷台架试验进行对比,模型只选取方向盘进行建模,如图 2 所示,模型中共 483842 个单元、122158 个节点,单元的类型为四面体(c3d4)单元。
图 2 方向盘轮辐反力分析有限元模型
材料参数
本文分析涉及到塑性,因此将考虑材料非线性和几何非线性,所以除给出材料的弹性模量和泊松比外,还给出了材料发生塑性后应力-应变强化曲线。
边界条件和载荷情况
如图 3 所示,根据试验的约束和加载,给出分析的边界条件和载荷情况。约束花键中心的全部自由度,约束12 点处的 1 方向平动自由度,在 6 点辐条处沿 x 负向加载规定的强制位移。
图 3 方向盘轮辐反力分析边界条件
计算结果
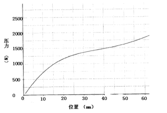
按照图 3 所描述的边界条件进行计算,仿真分析的加载位移与反力曲线关系如图 4 所示,当强制位移加载结束时反力达到最大值,最大值为 1854.53n,小于规定的最大值。图 5 为轮辐静载荷台架试验的位移与压力曲线,当强制位移加载完成时压力值为 1800n 左右。从两幅图的位移与压力关系曲线可以看出,仿真结果与试验结果吻合得较好。
图 4 仿真的反力与位移曲线
图 5 试验的压力与位移曲线
本文运用 abaqus 对方向盘进行轮辐静载荷试验仿真,得到位移与反力的曲线。分析得到的曲线与试验的曲线对标,吻合得较好。成功解决了方向盘轮辐反力要求,节约了开发时间同时节省了开发费用。
资料来源:达索官方
2025-12-05
[行业资讯] simulia简介-abaqus代理经销商思茂信息
2025-12-05
[行业资讯] 如何合理选购abaqus软件并获取报价?达索代理商思茂信息
2025-12-05
[行业资讯] 思茂信息亮相2025省博士创新站活动 共探产学研新路径
2025-12-02
[cst] cst软件探索eft虚拟测试:从iec标准到3d仿真实战
2025-12-01
[abaqus] abaqus中理想弹塑性模型和弹塑性硬化模型区别
2025-11-28
2025-11-28
2025-11-28
[abaqus] 上课啦!达索系统 simulia abaqus pcb仿真
2025-11-26
[cst] 无参优化器:利用cst和tosca进行拓扑优化之单极天线(
2025-11-26
2023-08-29
2023-08-24
[abaqus] abaqus如何建模?abaqus有限元分析教程
2023-07-07
[abaqus] 有限元分析软件abaqus单位在哪设置?【操作教程】
2023-09-05
[abaqus] abaqus软件中interaction功能模块中的绑定接
2023-07-19
[abaqus] abaqus怎么撤回上一步操作?abauqs教程
2024-05-01
[abaqus] abaqus里面s11、s12和u1、u2是什么意思?s和
2023-08-30
[abaqus] abaqus单位对应关系及参数介绍-abaqus软件
2023-11-20
[abaqus] abaqus软件教程|场变量输出历史变量输出
2023-07-18
[abaqus] abaqus中的s、u、v、e、cf分别是什么意思?
2024-05-11
[行业资讯] simulia简介-abaqus代理经销商思茂信息
2025-12-05
2025-12-05
[行业资讯] 如何合理选购abaqus软件并获取报价?达索代理商思茂信息
2025-12-05
[行业资讯] 思茂信息亮相2025省博士创新站活动 共探产学研新路径
2025-12-02
[行业资讯] 正版abaqus全国代理商:思茂信息——达索授权认证
2025-11-25
[行业资讯] 怎么联系cst studio suite代理商?达索sim
2025-11-25
2025-11-24
[行业资讯] 广东有限元分析软件abaqus采购指南-认准达索授权思茂信
2025-11-21
[行业资讯] 达索abaqus、cst代理商采购流程-指定授权代理商思茂
2025-11-21
[行业资讯] 广东2025半导体及零部件学会发展论坛落幕,广州思茂信息获
2025-11-20
地址: 广州市天河区天河北路663号广东省机械研究所8栋9层 电话:020-38921052 传真:020-38921345 邮箱:thinks@think-s.com
凯发k8官方网娱乐官方 copyright © 2010-2023 广州思茂信息科技有限公司 all rights reserved. 粤icp备11003060号-2